가톨릭대학교 여의도성모 안과병원 황호식 교수가 지난 9월 23일 다초점 인공수정체 평가 장치 ‘Optical bench tester for multifocal IOL’의 미국 특허 등록을 완료했다. 본 발명은 다초점 인공수정체(multifocal IOL, 원·근거리 동시 교정 렌즈)의 성능을 객관적이고 신속하게 평가하도록 고안됐다.
백내장 수술은 혼탁한 수정체를 제거하고 인공수정체(IOL)를 삽입하는 표준 치료다. 기존 임상 연구 기반 평가는 환자 시력과 만족도 조사를 통해 이뤄지지만 시간·비용 부담과 주관성이 한계로 지적돼 왔다.
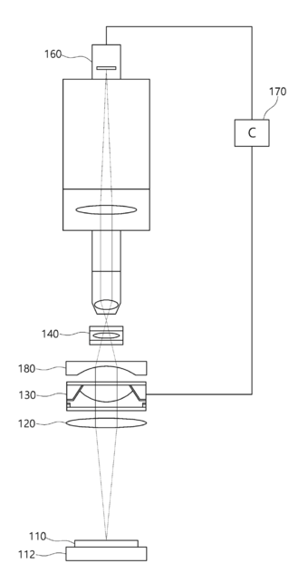
황 교수의 특허 기술은 옵티컬 벤치(optical bench, 광학 성능 평가 장치) 상의 수조에 인공수정체를 삽입한 뒤, 전기로 작동하는 액체렌즈로 다양한 거리를 시뮬레이션할 수 있도록 탈조점을 만든 후 시표를 촬영 및 분석한다. 시표 촬영부터 데이터 분석까지 전 과정을 자동화해 반복 가능성과 재현성을 높인 것이 핵심이다.
▲ 황 호식 교수
황 교수는 “이번 발명은 전기적으로 탈초점을 구현해 다초점 인공수정체의 성능을 빠르고 객관적으로 측정할 수 있도록 한 장치”라며 “평가 결과를 표준화된 데이터베이스로 구축해 안과의사와 백내장 수술 예정 환자들이 병원 홈페이지에서 손쉽게 열람할 수 있도록 하겠다”고 밝혔다.
여의도성모 안과병원은 해당 장비를 기반으로 국내외 다초점 인공수정체의 비교·검증을 진행하여 임상 현장에서의 다초점인공수정체 선택의 근거를 확보하여 환자 맞춤 치료에 기여할 계획이다.

# 다초점 인공수정체 평가 장치(Optical bench tester for multifocal IOL) 구성도











